Carrito
155
Cigüeñal y Accesorios
Cigüeñal Massey Ferguson Con Motores 4 Cilindros Perkins A4.192,A4.203,AD4.203
Bombas de Aceite y enfriadores
Bomba aceite Tractor Massey Ferguson Motores Perkins 4 Cilindros A4.203, AD4.203
Bombas Hidráulicas Pistones
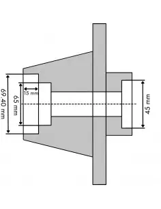
Bomba hidráulica para TDF y caja de cambios tractores Massey Ferguson 1684582M92
Bombas de agua y Juegos de Reparación
Bomba agua Massey Ferguson y Landini Motores Perkins 4 Cilindros 3641103M91
Discos de Embrague y Discos de Embrague Toma de Fuerza
Disco embrague Principal Tractores Massey Ferguson en ferodo 10 Estrías y Ø 300 mm...
Discos de Embrague y Discos de Embrague Toma de Fuerza
Disco de embrague PTO 10 Estrías y Ø 250 mm Massey Ferguson 3620409M91
Relojes cuenta Horas, revoluciones o temperatura
Reloj Indicador de Combustible Massey Ferguson / Ebro
Faros y opticas delanteras
Óptica lado Izquierdo Tractores Massey Ferguson y Landini Series Antiguas
Capo, Escaleras y Rejillas
Maneta Cierre Capó para Tractores Massey Ferguson 133, 135, 140, 145, 148, 152, 155,...
Palanca de Cambios y Accesorios
Guardapolvo Palanca de Cambios de 6 y 8 Velocidades Multipower (HI/LO y palanca de cambio)
Relojes cuenta Horas, revoluciones o temperatura
Reloj Indicador de Combustible Massey Ferguson / Ebro
Discos de Embrague y Discos de Embrague Toma de Fuerza
Disco embrague principal Massey Ferguson 1866042M93
Juego de Juntas Superior