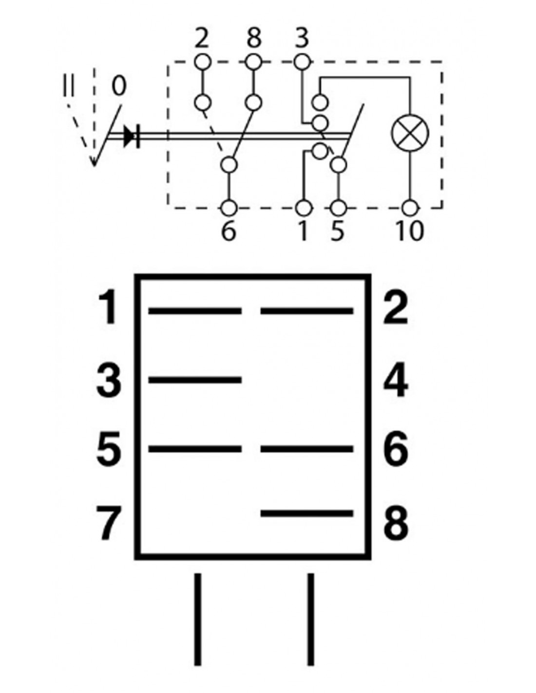
INTERRUPTOR DE SEGURIDAD
INTERRUPTOR DE SEGURIDAD
INTERRUPTOR DE SEGURIDAD
INTERRUPTOR DE SEGURIDAD

INTERRUPTOR DE SEGURIDAD

ATH50522221
19,36 €
IVA inc.

INTERRUPTOR DE SEGURIDAD

Referencia: 194114A1 , 245908C1 , 3221208R1 , IH245908 , 967-7

Otras Refencias Equivalentes

63/967-7

TODAS NUESTRAS OPCIONES DE PAGO...

Paga tu compra en cómodos plazos

Transferencia Bancaria

Pago con Paypal de manera segura

Pago 100% Seguro con Tarjeta y Bizum

Págalo a tu manera
en 3, 6 o 18 meses

Detalles del producto

Marca Compatible
Case IH

Descripción

Case IH - Tractor

Maxxum
5130 , 5140 , MX100C , MX110 , MX120 , MX135 , MX150 , MX170 , MX80C , MX90C

CX
CX100 , CX60 , CX70 , CX80 , CX90

¿Necesitas Ayuda?